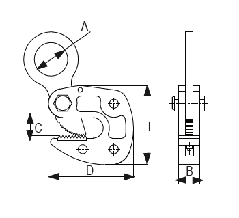
Hvataljka za lim horizontalna tip JPD (LC) RX-lift
• EN 13155
• horizontalno dizanje i transport tankih ploča, “I” profila te limova koji se savijaju tijekom dizanja
• čeljust okrenuta prema van omogućuje transport limova koji se imaju tendenciju blagog savijanja prilikom dizanja odnosno manipulaciju “I” profila (npr. prihvat s bočne strane profila ili prevrtanje profila)
• korištenje u paru s dvokrakom priveznicom ili nosivom gredom (jarmom)
• zabranjeno korištenje u kombinaciji s 4-krakom priveznicom (prilikom dizanja većih limova, potrebno je koristi nosivu gredu (jaram) u kombinaciji s 1-krakim ili 2-krakim priveznicama)
• za materijale maksimalne tvrdoće 30 HRC
• temperatura korištenja od -40 do 100°C
• bočni kut hvataljke prilikom opterećenja ne smije biti veći od 15°
• nazivna nosivost hvataljke je iskazana za korištenje u paru pod kutom od 0-30° (za kuteve 30-60° između hvataljke i priveznice nosivost se smanjuje)
• EN 13155
• horizontalno dizanje i transport tankih ploča, “I” profila te limova koji se savijaju tijekom dizanja
• čeljust okrenuta prema van omogućuje transport limova koji se imaju tendenciju blagog savijanja prilikom dizanja odnosno manipulaciju “I” profila (npr. prihvat s bočne strane profila ili prevrtanje profila)
• korištenje u paru s dvokrakom priveznicom ili nosivom gredom (jarmom)
• zabranjeno korištenje u kombinaciji s 4-krakom priveznicom (prilikom dizanja većih limova, potrebno je koristi nosivu gredu (jaram) u kombinaciji s 1-krakim ili 2-krakim priveznicama)
• za materijale maksimalne tvrdoće 30 HRC
• temperatura korištenja od -40 do 100°C
• bočni kut hvataljke prilikom opterećenja ne smije biti veći od 15°
• nazivna nosivost hvataljke je iskazana za korištenje u paru pod kutom od 0-30° (za kuteve 30-60° između hvataljke i priveznice nosivost se smanjuje)


