Varijacije
Katalog
Opis
• završna obrada: cinčano
Dodatne informacije
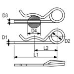
| D1 (mm) | , , , , , , |
|---|---|
| D2 (mm) | , , , , |
| L1 (mm) | , , , , , |
| l2 (mm) | , , , , , , |
| D3 (mm) | , , , , , , |
| D4 (mm) | , , , , , , |
| Težina (kg/100 kom) | , , , , , , |


